Нашел баг на RX400h
Не запускается система проверки Аудио-визуальной системы:
По инструкции
нужно сделать следующее:
1. Поверните замок зажигания в положение АСС.
2. Выключите аудиосистему.
3. Одновременно нажав и удерживая переключатели "1" и "6", нажмите переключатель "DISC" 3 раза.
Пробовал на 2-х авто. Результат - диагностика не запускается.
К чему я это всё. У меня не отображается название треков с MP3 Триома на магнитоле. HO!
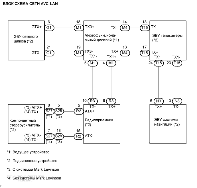
Если мы отключаем верхний блок с монитором от магнитолы или просто разрываем шину AVC-LAN (TX+ TX-) между магнитолой и дисплеем, то диагностика сразу запускается и треки весело начинают отображаться.
Кто может разъяснить в чем тут дело?
